產品概述
電站高壓旋啟式止回支管兩端為焊結結構,焊結坡口可按標準或用戶要求制作。具有耐磨、耐高溫、抗腐蝕、抗擦傷、使用壽命長等優點。適用于工作壓力Class 1500~2500,工作溫度-29~570℃的火電廠、石油化工、冶金等高溫高壓的水、蒸氣、油品、過熱蒸汽的管道上,作防止介質回流的裝置。
產品特點
1、產品設計制造按ANSI B16.34、E101標準,可與進口設備配備使用。
2、采用壓力自密封式密封結構,密封可靠,適用于超高壓、高溫工況。
3、閥瓣、閥座的密封面采用司太立(stellite)鈷基硬質合金堆焊而成,耐磨、耐高溫,抗擦傷性能好、使用壽命長。
4、旋啟式閥瓣依靠自重和介質力自行關閉。
5、閥瓣圍繞閥座外的銷軸旋轉,減少關閉時發生猛烈沖擊。
6、內裝式的銷軸結構,減小外泄漏點,使用更可靠。
主要零件材料
| 零件名稱 | 材料牌號 | |||
| 閥體 | WCB | WC1 | WC6 | WC9 |
| 閥座 | A105 | 15CrMoA | 12Cr1MoVA | |
| 閥瓣 | WCB | WC1 | WC6 | WC9 |
| 搖桿 | WCB | WC1 | WC6 | WC9 |
| 閥蓋 | A105 | 15CrMoA | 12Cr1MoVA | |
| 密封環 | 1Cr17Ni2 | 12Cr1MoVA | ||
| 密封環 | S軟鋼(增強柔性石墨) | S軟鋼 | F軟鋼 | |

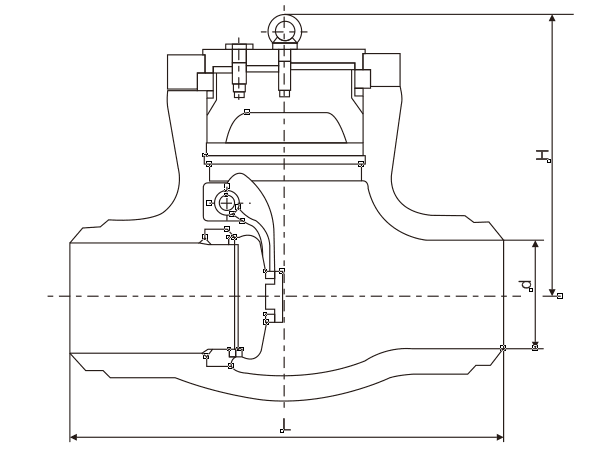
主要外形連接尺寸(H64Y-1500Lb H64Y-250/P55140V)
| NPS(in) | d | L | H | WT(kg) |
| 2-1/2 | 56 | 254 | 282 | 57 |
| 3 | 64 | 325 | 300 | 57 |
| 4 | 84 | 406 | 350 | 80 |
| 5 | 100 | 483 | 425 | 115 |
| 6 | 126 | 559 | 400 | 180 |
| 8 | 158 | 711 | 490 | 270 |
| 10 | 200 | 864 | 540 | 430 |
| 12 | 250 | 991 | 650 | 630 |
| 14 | 280 | 1067 | 710 | 1400 |
主要外形連接尺寸(H64Y-2000Lb H64Y-320/P55170V)
| NPS(in) | d | L | H | WT(kg) |
| 2-1/2 | 50 | 330 | 240 | 40 |
| 3 | 60 | 368 | 305 | 60 |
| 4 | 80 | 457 | 315 | 95 |
| 5 | 96 | 533 | 409 | 170 |
| 6 | 118 | 610 | 465 | 186 |
| 8 | 147 | 762 | 528 | 415 |
| 10 | 180 | 914 | 613 | 658 |
| 12 | 222 | 1041 | 680 | 1200 |
| 14 | 254 | 1118 | 745 | 1638 |
主要外形連接尺寸(H64Y-2500Lb H64Y-420/P55250V)
| NPS(in) | d | L | H | WT(kg) |
| 3 | 54 | 368 | 297 | 44 |
| 4 | 70 | 457 | 385 | 110 |
| 5 | 86 | 533 | 410 | 130 |
| 6 | 104 | 610 | 455 | 192 |
| 8 | 130 | 762 | 557 | 466 |
| 10 | 162 | 914 | 615 | 730 |
| 12 | 210 | 1041 | 715 | 1120 |
| 14 | 234 | 1118 | 790 | 1495 |
| 16 | 264 | 1245 | 815 | 1950 |
| 18 | 304 | 1397 | 815 | 2400 |